Product Series
推薦產品
河南華東起重機械設備公司
服務熱線:400 086 9590
公司:河南華東起重機械設備有限公司
聯系人:賈經理
聯系電話:13903802779
地址:河南新鄉市封丘縣起重機工業園區
當前位置: 起重機 > 起重機文章
BX-KBK系列壁式起重機 墻壁式懸臂吊
時間:2024-05-15來源:起重機廠家瀏覽次數:1
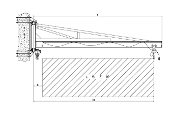
墻壁式旋臂起重機(又稱 壁柱式旋臂起重機 壁柱式旋臂吊 壁柱式旋臂吊 墻壁吊 墻壁式旋臂起重機) 墻壁吊是由支架、旋臂裝置及環鏈電動葫蘆等組成。旋臂固定在墻壁或水泥柱上,可根據用戶需求進行回轉。回轉部分分為手動回轉和電動回轉。環鏈電動葫蘆安裝在旋臂軌道上,用于起吊重物。
墻壁式旋臂吊其優點就是可以直接安裝在墻面或定柱上,或者也可以安裝在機器設備上,從而不需要占用任何地面空間。
結構及操作
本機主要由1、懸臂;2、回轉裝置;3、環鏈電動葫蘆組成。
環鏈電動葫蘆有起重和在橫梁上往復運行的功能。
懸臂梁可由回轉裝置上的的減速機帶動滾輪進行回轉運動。
電器部分見附圖:電氣原理幾電氣接線圖。電器控制箱安裝在環鏈葫蘆上。
本機操作通過手電門按鈕實現。手電門有八個按鈕,分別控制快升、快降、慢升、慢降、左右回轉及葫蘆小車的水平前后行走。


| 產品型號 | BX-JKBK0.125 | BX-JKBK0.25 | BX-JKBK0.5 |
| 起重量(kg) | 125 | 250 | 500 |
| 回轉半徑L(m) | 3(標準) | ||
| 有效工作半徑(m) | L-0.5 | ||
| 起升速度(m/min) | 8/2 | 4/1,10/2.5 | 5/1.25,10/2.5 |
| 運行方式 | 手動 | ||
| 起升高度(m) | 3(標準) | ||
| 旋轉角度(°) | ≤180 | ||
| 產品型號 | BX0.125 | BX0.25 | BX0.5 | BX1 | BX2 | BX3 | |
| 額定起重量(T) | 0.125 | 0.25 | 0.5 | 1 | 2 | 3 | |
| 起吊高度h(m) | 3 | 3 | 3 | 3 | 3 | 3 | |
| 回轉半徑L(m) | 3456 | 3456 | 3456 | 3456 | 3456 | 3456 | |
| 工作半徑R2(m) | L-200mm | ||||||
| 工作半徑R1(m) | 1 | 1 | 1 | 1 | 11.51.8 | ||
| 提升速度(m/min) | 8/2 | 4/1,10/2.5 | 5/1.25,10/2.5 | 5/1.25 , 8/2 | 4/1 | 4 | |
| 水平運行速度(m/min) | 7,14,28 | ||||||
| 回轉速度(r/min) | 0.8 | ||||||
| 回轉角度(°) | 180 | ||||||
| 電機容量 | 回轉電機(kw) | 0.37 | 0.37 | 0.370.55 | 0.370.55 | 0.550.751.1 | 0.550.751.1 |
起升電機(kw) | 0.2/0.05 | 0.2/0.05, 0.5/0.13 | 0.5/0.13, 1.0/0.25 | 1.0/0.25, 1.5/0.35 | 1.5/0.35 | 2.3 | |
運行電機(kw) | 0.14 | 0.14 | 0.14 | 0.2 | 0.2 | 0.4 | |




















